GX型螺旋輸送機
概述
  GX型螺旋輸送機是利用螺旋轉動將物料沿機完連續推移而進行輸送的。軸瓦一般采用粉末冶金,吊軸承采用滑動軸承設有防塵密封裝置,吊軸和螺旋軸采用滑塊連接。因此,使得GX型螺旋輸送機具備了結構簡單外形尺寸小,成本低,操作安全,能按工藝要求滿足多點進料和排料等優點。
 
特點
產品特點
  1.整機體積小、轉速高、確保快速均勻輸送。
  2.GX型螺旋輸送機承載能力大、安全可靠。
  3.出料端設有清掃裝置,整機噪聲低、適應性強,進出料口位置布置靈活。
  4.GX型螺旋輸送機適應性強、安裝維修方便、壽命長。
  5.密封性好、外殼采用無縫鋼管制作,端部采用法蘭互相連接成一體,剛性好。
GX型螺旋輸送機的制法和裝法說明
        GX螺旋機按使用場合要求的不同,分為S制法和D制法兩種。
        S制法帶有實體螺旋面的螺旋,其螺距等于直徑的0.8倍。
        D制法—帶有帶式螺旋面的螺旋,其螺距等于直徑。
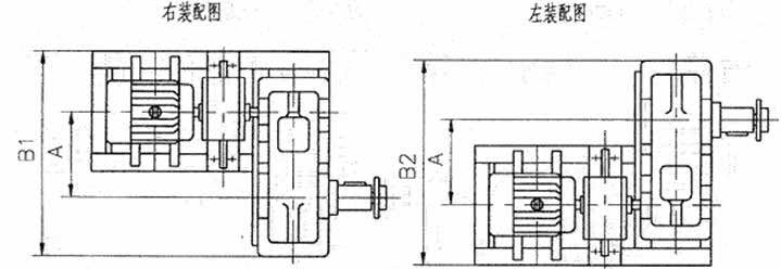
        GX螺旋—機按驅動裝置裝配方法的不同,分為右裝和左裝兩種
        右裝—站在電動機尾部向前看,減速器低速軸在電動機的右側。
        左裝—站在電動機尾部向前看,減速器低速軸在電動機的左側。
        GX螺旋機的出料口有方形出料口、手推式出料口和齒條式出料口三種。后兩種出料口拉板的開閉方向,隨安裝不同而分右裝、左裝兩種:
        右裝—站在螺旋機頭節往尾節看,拉板向右拉開。
        左裝—站在螺旋機頭節往尾節看,拉板向左拉開。
 
參數
技術性能及技術參數
| 
             規格  | 
            
             主要技術性能  | 
            
             驅動裝置  | 
            
             重量kg  | 
        |||||
| 
             直徑  | 
            
             長度m  | 
            
             產量(水泥)t/h  | 
            
             轉速 轉/分  | 
            
             減速機  | 
            
             電動機  | 
        |||
| 
             型號  | 
            
             速比  | 
            
             型號  | 
            
             功率kW  | 
        |||||
| 
             GX200  | 
            
             ~10  | 
            
             9  | 
            
             60  | 
            
             JZQ250  | 
            
             23.34  | 
            
             Y90S—4  | 
            
             1.1  | 
            
             726  | 
        
| 
             GX200  | 
            
             ~20  | 
            
             9  | 
            
             60  | 
            
             JZQ250  | 
            
             23.34  | 
            
             Y90L—4  | 
            
             1.5  | 
            
             1258  | 
        
| 
             GX250  | 
            
             ~10  | 
            
             15.6  | 
            
             60  | 
            
             JZQ250  | 
            
             23.34  | 
            
             Y100L2—4  | 
            
             2.2  | 
            
             960  | 
        
| 
             GX250  | 
            
             ~20  | 
            
             15.6  | 
            
             60  | 
            
             JZQ250  | 
            
             23.34  | 
            
             Y100L1—4  | 
            
             3  | 
            
             1750  | 
        
| 
             GX300  | 
            
             ~10  | 
            
             21.2  | 
            
             60  | 
            
             JZQ350  | 
            
             23.34  | 
            
             Y100L2—4  | 
            
             3  | 
            
             1373  | 
        
| 
             GX300  | 
            
             ~20  | 
            
             21.2  | 
            
             60  | 
            
             JZQ350  | 
            
             23.34  | 
            
             Y112M—4  | 
            
             4  | 
            
             2346  | 
        
| 
             GX400  | 
            
             ~10  | 
            
             51  | 
            
             60  | 
            
             JZQ400  | 
            
             23.34  | 
            
             Y132S—4  | 
            
             5.5  | 
            
             1911  | 
        
| 
             GX400  | 
            
             ~20  | 
            
             51  | 
            
             60  | 
            
             JZQ500  | 
            
             23.34  | 
            
             Y160M—4  | 
            
             11  | 
            
             2049  | 
        
| 
             GX500  | 
            
             ~10  | 
            
             87.5  | 
            
             60  | 
            
             JZQ400  | 
            
             23.34  | 
            
             Y132M—4  | 
            
             7.5  | 
            
             2381  | 
        
| 
             GX500  | 
            
             ~20  | 
            
             87.5  | 
            
             60  | 
            
             JZQ650  | 
            
             23.34  | 
            
             Y180M—4  | 
            
             18.5  | 
            
             5389  | 
        
| 
             GX600  | 
            
             ~10  | 
            
             134.2  | 
            
             45  | 
            
             JZQ750  | 
            
             23.34  | 
            
             Y180L—4  | 
            
             22  | 
            
             3880  | 
        
| 
             GX600  | 
            
             ~10  | 
            
             134.2  | 
            
             45  | 
            
             JZQ850  | 
            
             23.34  | 
            
             Y250M—4  | 
            
             55  | 
            
             7090  | 
        
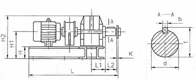
表二(mm):

| 
             螺旋直徑 D 
             | 
            
             A 
             | 
            
             B 
             | 
            
             C 
             | 
            
             E 
             | 
            
             F 
             | 
            
             G 
             | 
            
             b 
             | 
            
             K 
             | 
            
             J 
             | 
            
             M 
             | 
            
             N 
             | 
            
             Q 
             | 
            
             P 
             | 
            
             R 
             | 
            
             T 
             | 
            
             T1 
             | 
            
             X 
             | 
            
             Z 
             | 
            
             d 
            (dg)  | 
            
             d1 
             | 
            
             a 
             | 
            
             f 
             | 
            
             I 
             | 
            
             h 
             | 
            
             b 
            (hs)  | 
            
             t 
             | 
        
| 
             200 
             | 
            
             342 
             | 
            
             384 
             | 
            
             180 
             | 
            
             80 
             | 
            
             140 
             | 
            
             200 
             | 
            
             18 
             | 
            
             25 
             | 
            
             20 
             | 
            
             200 
             | 
            
             200 
             | 
            
             153 
             | 
            
             220 
             | 
            
             110 
             | 
            
             60 
             | 
            
             60 
             | 
            
             123 
             | 
            
             150 
             | 
            
             40 
             | 
            
             16 
             | 
            
             205 
             | 
            
             195 
             | 
            
             80 
             | 
            
             155 
             | 
            
             12 
             | 
            
             43.5 
             | 
        
| 
             250 
             | 
            
             392 
             | 
            
             464 
             | 
            
             220 
             | 
            
             140 
             | 
            
             200 
             | 
            
             260 
             | 
            
             20 
             | 
            
             28 
             | 
            
             28 
             | 
            
             200 
             | 
            
             200 
             | 
            
             183 
             | 
            
             270 
             | 
            
             135 
             | 
            
             70 
             | 
            
             70 
             | 
            
             125 
             | 
            
             180 
             | 
            
             50 
             | 
            
             20 
             | 
            
             237 
             | 
            
             225 
             | 
            
             100 
             | 
            
             155 
             | 
            
             16 
             | 
            
             55 
             | 
        
| 
             300 
             | 
            
             468 
             | 
            
             555 
             | 
            
             270 
             | 
            
             160 
             | 
            
             240 
             | 
            
             320 
             | 
            
             22 
             | 
            
             28 
             | 
            
             28 
             | 
            
             200 
             | 
            
             200 
             | 
            
             213 
             | 
            
             300 
             | 
            
             160 
             | 
            
             75 
             | 
            
             70 
             | 
            
             130 
             | 
            
             210 
             | 
            
             60 
             | 
            
             20 
             | 
            
             264 
             | 
            
             250 
             | 
            
             120 
             | 
            
             160 
             | 
            
             18 
             | 
            
             65.5 
             | 
        
| 
             400 
             | 
            
             572 
             | 
            
             685 
             | 
            
             340 
             | 
            
             220 
             | 
            
             320 
             | 
            
             400 
             | 
            
             22 
             | 
            
             30 
             | 
            
             35 
             | 
            
             300 
             | 
            
             300 
             | 
            
             273 
             | 
            
             350 
             | 
            
             210 
             | 
            
             90 
             | 
            
             85 
             | 
            
             145 
             | 
            
             270 
             | 
            
             80 
             | 
            
             25 
             | 
            
             325 
             | 
            
             310 
             | 
            
             160 
             | 
            
             180 
             | 
            
             24 
             | 
            
             87 
             | 
        
| 
             500 
             | 
            
             706 
             | 
            
             823 
             | 
            
             400 
             | 
            
             300 
             | 
            
             400 
             | 
            
             500 
             | 
            
             30 
             | 
            
             35 
             | 
            
             40 
             | 
            
             300 
             | 
            
             300 
             | 
            
             333 
             | 
            
             450 
             | 
            
             264 
             | 
            
             100 
             | 
            
             95 
             | 
            
             165 
             | 
            
             330 
             | 
            
             100 
             | 
            
             25 
             | 
            
             393 
             | 
            
             375 
             | 
            
             200 
             | 
            
             205 
             | 
            
             28 
             | 
            
             108 
             | 
        
| 
             600 
             | 
            
             806 
             | 
            
             973 
             | 
            
             500 
             | 
            
             400 
             | 
            
             500 
             | 
            
             600 
             | 
            
             30 
             | 
            
             40 
             | 
            
             40 
             | 
            
             300 
             | 
            
             300 
             | 
            
             383 
             | 
            
             550 
             | 
            
             314 
             | 
            
             110 
             | 
            
             105 
             | 
            
             170 
             | 
            
             380 
             | 
            
             120 
             | 
            
             30 
             | 
            
             433 
             | 
            
             415 
             | 
            
             240 
             | 
            
             205 
             | 
            
             32 
             | 
            
             129 
             | 
        
注:1、螺旋機輸送長度及尺寸L均見表二、表三。 2、圖n×500為蓋板卡子尺寸,n值視螺旋機長度而定。 3、圖中尺寸p為進出料口中心線。

表三(mm):
| 螺旋直徑 D  | 
            A | B | C | C1 | t | d | 重  量 (公斤)  | 
            圖 號 | 
| 200 | 220 | 306 | 272 | 100 | 3 | 9 | 3.64 | GX20·10·00 | 
| 250 | 270 | 356 | 330 | 120 | 3 | 9 | 4.80 | GX25·10·00 | 
| 300 | 320 | 428 | 386 | 140 | 4 | 13 | 8.88 | GX30·10·00 | 
| 400 | 420 | 528 | 492 | 160 | 4 | 13 | 12.42 | GX40·10·00 | 
| 500 | 528 | 662 | 612 | 160 | 4 | 17 | 16.56 | GX50·10·00 | 
| 600 | 628 | 762 | 720 | 180 | 4 | 17 | 21.20 | GX60·10·00 | 
表四(mm):




注:1、當螺旋轉速n=21轉/分時,電動機采用6極。2、表中n-d1當n=8時,圖中有黑圓點的地腳螺栓取消。
用途
  GX型螺旋輸送機可使運輸工作減輕勞動強度,提高工作效率,是工農業各部門機械化運輸工作的主要機組應用范圍很廣,不僅適用于水平或傾斜輸送粉狀、粒狀和小塊狀物料,如:煤、灰、渣、水泥、糧食等,也同樣適用于如:建材、化工、電力、冶金、煤炭、糧食等行業。
 
           相關產品
- 
                    
                      LC型立式螺旋輸送機
立式螺旋輸送機適用于輸送各種粉狀物料,如碳黑、面粉、水泥、飼料、化工原料、糧食及再生膠粉等。
立即了解?LC型立式螺旋輸送機
 - 
                    
                    
LSY型螺旋輸送機
 - 
                    
                    
螺旋送料機
 
動態
- 
                     
24
2020-09
空氣輸送斜槽的操作注意點講解
輸送斜槽是一種廣泛地應用于輸送干燥粉狀物料的氣力輸送設備,在水泥工業中常用于輸送水泥和生料粉。由于空氣輸送斜槽在輸送物料的過程中沒有運動的零件,所以與同功率的膠帶輸送機、螺旋輸送機、刮板輸送機相比,具有磨損少、易維護、耗電少、用材省、無噪音、密閉..
 - 
                     
23
2014-08
淺談關于水泥螺旋輸送機的具體優勢
水泥螺旋輸送機螺旋體直徑小,轉速高,輸送量大,精度高,輸送工況佳。螺旋輸送機主要用于輸送水泥、粉煤灰、細砂等粉料及細微粒狀干料。常用于攪拌站、水泥、礦山的設備中。
 - 
                     
12
2012-03
皮帶輸送機由于振動大減少了懸拱、卡礦現象
振動放礦機是一種以振動電機為激振源的顛振型慣性振動出礦設備,螺旋輸送機廣泛適用于冶金、化工、建材、煤炭等礦業。皮帶輸送機設備制造簡單,安裝工程量小,成本較低。
 - 
                     
26
2010-07
LS型螺旋輸送機
LS型螺旋輸送機出料端設有清掃裝置,整機噪聲低、適應性強,操作維修方便,被廣泛使用在各種工業部門,如建材、電力、化工、冶金、煤炭、鋁鎂、機械、輕工、糧食及食品行業。
 - 
                     
04
2012-12
水泥螺旋輸送機的外殼
水泥螺旋送料機的外殼采用優質無縫鋼管通過法蘭各段連接為整體,整體剛性好,水泥螺旋送料機無論是水平還是大傾角均可連續輸送,螺旋送料機被廣泛地使用在各種工業部門,如建材、電力、化工、冶金、煤炭、機械、輕工、糧食及食品行業。
 
熱銷產品
- 
                    
                      DZSF直線振動篩
DZSF系列直線振動篩是由篩箱、篩框、振動電機、減振系統及座架等組成。直線振動篩是用振動電機作為振動源,固定在篩箱上兩臺相同的振動電機做相反方向自同步旋轉,振動電機所帶的偏心塊在旋轉時各個瞬間位置所產生的離心力之分力沿拋擲方向作往復運動
立即了解?DZSF直線振動篩
 - 
                    
                    
CZ系列倉壁振動器
 - 
                    
                    
ZG系列慣性振動器
 - 
                    
                      GZ系列電磁振動給料機
GZ系列電磁振動給料機在生產流程中,用于把塊狀、顆粒狀、粉狀物料從貯料倉或漏斗中定量、均勻、連續地給到受料裝置中去。
立即了解?GZ系列電磁振動給料機