GZGM-K型慣性振動給煤機
概述
GZGM-K型慣性振動給煤機是K型往復式給煤機的替代產品。該機型結構緊湊,工作噪音小,安裝方便,且無需改動即可更換原有的K型往復式給煤機。該機結構分固定部分和振動部分兩部分,固定部分和煤倉剛性聯接,振動部分通過減振器和固定部分聯接,安裝時不需要在煤倉上做安裝基礎,安裝、拆卸方便。
特點
該機型結構緊湊,工作噪音小,安裝方便,且無需改動即可更換原有的K型往復式給煤機。該機結構分固定部分和振動部分兩部分,固定部分和煤倉剛性聯接,振動部分通過減振器和固定部分聯接,安裝時不需要在煤倉上做安裝基礎,安裝、拆卸方便。
參數
●技術參數
| 型號 | 代替型號 | 最大給料粒度mm | 振動次數次/分 | 整體重量 | 生產率 | 配套振動電機 | 設備重量kg | ||
| 煙煤t/h | 無煙煤t/h | 型號 | 功率kw | ||||||
| GZGM-K0 | K-0 | 250 | 960 | 1250 | 22-90 | 25-100 | ZGY10-0.7/6 | 2×0.7 | 820 | 
| GZGM-K1 | K-1 | 350 | 1580 | 34-135 | 38-150 | ZGY10-0.7/6 | 2×0.7 | 1050 | |
| GZGM-K2 | K-2 | 350 | 1970 | 45-200 | 50-225 | ZGY10-1.1/6 | 2×1.1 | 1250 | |
| GZGM-K3 | K-3 | 400 | 2750 | 75-300 | 80-330 | ZGY30-2.4/6 | 2×2.4 | 1580 | |
| GZGM-K4 | K-4 | 500 | 3540 | 132-530 | 146-600 | ZGY30-3.2/6 | 2×3.2 | 1960 | |
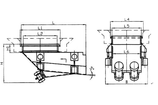
●外形尺寸
.jpg)
單位:mm
| 型 號 | L | L1 | L2 | B1 | B2 | B3 | B | H | H1 | 
| GZGM-K0 | 3100 | 1000 | 750 | 500 | 550 | 750 | 830 | ~1100 | 325 | 
| GZGM-K1 | 3100 | 1000 | 750 | 750 | 800 | 1000 | 1080 | ~1100 | 325 | 
| GZGM-K2 | 3540 | 1250 | 1000 | 750 | 800 | 1000 | 1080 | ~1290 | 325 | 
| GZGM-K3 | 3950 | 1500 | 1250 | 1000 | 1050 | 1250 | 1330 | ~1350 | 345 | 
| GZGM-K4 | 4140 | 1750 | 1500 | 1250 | 1300 | 1500 | 1580 | ~1450 | 345 | 
用途
           相關產品
- 
                    
                      ZG系列電磁振動給煤機
ZG系列電磁振動給煤機可以將煤炭或其它散狀物料從料倉或漏斗中均勻連續或定量地給到受料設備中去(如帶式輸送機,斗式提升機,篩分設備,破碎機等)。
立即了解?ZG系列電磁振動給煤機
 - 
                    
                      葉輪給煤機
葉輪給煤機是火力發電廠儲倉式制粉系統供給鍋爐燃料的主要設備,用葉輪給煤機把煤粉連續,均勻地送入一次風管,吹進鍋爐燃燒。靠葉輪給煤機調節給粉量來控制鍋爐溫度和壓力,從而保證要求的鍋爐出力。
立即了解?葉輪給煤機
 - 
                    
                      K型往復式給煤機
K型給煤機由機架、底板(給煤槽)、傳動平臺、漏斗、閘門、托輥等組成,當電機啟動后,經彈性聯軸器、減速機、曲柄連桿機構拖動傾斜5度的底板在輥上作直線往復運動,煤均勻地卸到其他設備上。
立即了解?K型往復式給煤機
 - 
                    
                      刮板給煤機
刮板給煤機在水平輸送時物料受到刮板鏈條在運動方向的壓力及物料自身重量的作用,刮板給煤機在物料間產生了內摩擦力,刮板給煤機的摩擦力保證了料層之間的穩定狀態,并足以克服物料在機槽中移動而產生的外摩擦力,使物料形成連續整體的料流而被輸送。
立即了解?刮板給煤機
 - 
                    
                      振動式給煤機
振動式給煤機配備自動穩幅控制箱,可不受電源電壓的波動,而使機器振幅穩定,配備電源控制箱,可以無級調節給料量,且噪音降低,壽命延長,可靠性提高,同時還可以與計算機實現聯機,實現自動化智能給料。
立即了解?振動式給煤機
 - 
                    
                      振動給煤機
振動給煤機配備自動穩幅控制箱,可不受電源電壓的波動,而使機器振幅穩定,配備電源控制箱,可以無級調節給料量,且噪音降低,壽命延長,可靠性提高,同時還可以與計算機實現聯機,實現自動化智能給料。
立即了解?振動給煤機
 - 
                    
                      埋刮板給煤機
埋刮板給煤機在物料間產生了內摩擦力,埋刮板給煤機在水平輸送時物料受到刮板鏈條在運動方向的壓力及物料自身重量的作用,埋刮板給煤機的摩擦力保證了料層之間的穩定狀態,并足以克服物料在機槽中移動而產生的外摩擦力,使物料形成連續整體的料流而被輸送。
立即了解?埋刮板給煤機
 - 
                    
                      活化給煤機
活化給煤機集合獨特的振動方式,從而有效地增大了貯料倉的出料面積,活化給煤機設計優化,裝置利息及維護費用低,活化給煤機的亞共振的振動設計原理使得它功率小,能耗低,活化給煤機設計符合美國井下安全生產標準
立即了解?活化給煤機
 
動態
- 
                     
16
2022-09
振動給煤機,知道怎樣安全操作嗎?
振動給煤機一般用于把原煤及粉煤從貯料倉均勻或定量給到受料設備中,具有起動迅速,停車平穩,維修少,安裝方便,結構簡單等特點。
 - 
                     
06
2020-07
慣性振動給煤機的日常維護檢修是怎樣的呢
慣性振動給煤機由機架、底板(給煤槽)、傳動平臺、漏斗、閘門、托輥等組成。當電機開動后經彈性聯軸器、減速機、曲柄連桿機構拖動傾料5°的底板在輥上作直線往復運動,煤均勻地卸到其他設備上。
 - 
                     
29
2012-04
斗式提升機的工作原理
TH系列斗式提升機適用于輸送粉狀、粒狀及小塊狀的無磨琢及磨琢性小的物料。TH型是一種圓環鏈斗式提升機采用混合式或重力卸料,挖取式裝料。牽引件用優質合金鋼高度圓環鏈。中.. 板式輸送機 電磁振動給煤機 埋刮板輸送機 TH系列斗式提升機適用于輸送粉狀、粒狀及小塊狀..
 - 
                     
29
2012-04
刮板輸送機的安裝和使用
一、刮板輸送機的安裝 刮板輸送機的安裝需要進行以下工作:1)定位 定出機頭和機尾的位置,然后再定出刮板輸送機的中心線。2)鋪設中間槽.. 熱礦振動篩 一、刮板輸送機的安板式給料機裝&n氣動弧門卸料器bsp; 刮板輸送機的安裝需要進行以下工作:1)電磁振動給煤機定位 ..
 - 
                     
18
2012-04
擋邊皮帶輸送機的工作原理
波紋擋邊式輸送機又名邊帶式輸送機,它是在平面輸送帶上硫化一格格的隔板并與兩邊能收縮的波紋狀擋邊練成一體,其斷面有如斗形,該機英文為FLexowell,意為柔性斗。當在轉彎滾筒上轉角時.. 慣性振動給料斗電磁振動給煤機 波紋擋邊式輸送機又名邊帶式輸活化給煤機送機,它..
 
熱銷產品
- 
                    
                      DZSF直線振動篩
DZSF系列直線振動篩是由篩箱、篩框、振動電機、減振系統及座架等組成。直線振動篩是用振動電機作為振動源,固定在篩箱上兩臺相同的振動電機做相反方向自同步旋轉,振動電機所帶的偏心塊在旋轉時各個瞬間位置所產生的離心力之分力沿拋擲方向作往復運動
立即了解?DZSF直線振動篩
 - 
                    
                    
CZ系列倉壁振動器
 - 
                    
                    
ZG系列慣性振動器
 - 
                    
                      GZ系列電磁振動給料機
GZ系列電磁振動給料機在生產流程中,用于把塊狀、顆粒狀、粉狀物料從貯料倉或漏斗中定量、均勻、連續地給到受料裝置中去。
立即了解?GZ系列電磁振動給料機